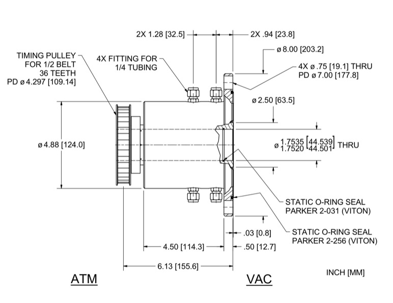
Ferrotec Feedthrough Model HS-1750-CFFBWP Ferrofluidic Part Number 107425
The HS-1750-CFFBWP vacuum rotary feedthrough features a Hollow shaft with Ferro Flange mounting. Dimensional details are specified below. This vacuum seal is also water-cooled for high-temperature applications. For precision measurement specifications, refer to the Spec Control Drawing.
Specifications for Ferrotec Part Number 107425
| Shaft | Hollow Shaft |
| Shaft Support: |
Cantilevered (both on atm side) |
| Ferrofluid | Reactive Gas |
| Mounting | Ferro Flange |
| Features: |
Water-cooled |
|
Dimensions: |
|
| Shaft (or bore) Diameter with tolerance | 1.7525 in |
| Shaft extension (Vac) | 0.03 in |
| Overall length | 6.53 in |
| Housing overall length | 5 in |
| Housing diameter | 4.88 in |
| Body length | 4.5 in |
| Recommended shaft diameter | 1.75 |
| Flange diameter | 8 in |
| Flange thickness | 0.5 in |
| Fitting locations | .936, 1.280 in |
| Mounting holes | .750, 4x on 7.000 bc in |
| Face seal O-ring | 2-256 |

